
聯系人:雷小姐
手機:19370567831
直線:17317559141
郵箱:dxlink@126.com
企業官網:http://www.dx-link.cn
公司主頁:http://www.mediactive.cn
地址:上海市松江區 泗涇鎮泗磚路351號6號樓B05-1交大科創園

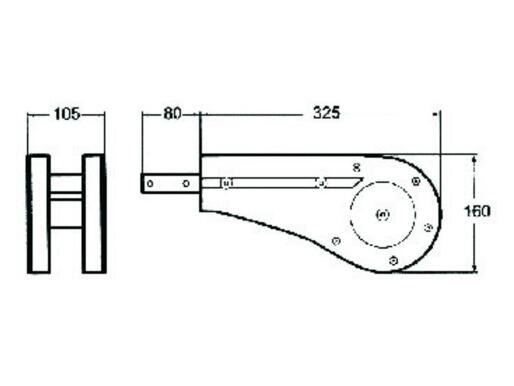
DXFD103動力驅動頭尾

柔性鏈板輸送機是一種情形組合立體輸送系統,采用鋁合金框架,塑鋼輸送鏈。具有靈巧、輕便、美觀,標準化的結構,模塊化
設計,安裝快速,隨意、系統穩定、緊湊、安靜、無污染,廣泛用于衛生要求高,場地范圍小,潔凈,自動化程度高的生產線配套使用.
具有轉彎半徑小,爬坡強等優點.藥廠,化妝品廠,食品廠,軸承廠等行業.是自動化連線理想的便捷產品。此系統可大可小,伸縮自如、
操作簡便,可制成托、推、掛、夾各種輸送方式,組成集料、分流、分檢、合流各種功能,加裝各種氣動、電動、機動自控裝置,
并根據用戶不同的需要,形成各種形式的生產流水線
產品名稱:柔性輸送系統
1:產品規格:.鏈板寬度:44mm, 63mm,83mm,103mm ,140mm,175MM ,295mm,7種寬度。
2.單個驅動頭的最大輸送長度:25M。
3.工作溫度:-20℃~+60℃ 。
4.最高輸送速度:50M/min。
5.鏈板節距:25.4mm/33.5mm/35.5mm/38.1mm。
6.最小轉彎半徑:R150mm/R160mm/R170mm
產品優點:
(1)潔凈:整線由白色高強度工程塑料鏈板與表面經陽極氧化的鋁合金異型材組裝而成。鏈板為純白色,設備運行無需潤滑,無須定期保養,
不會被腐蝕,符合GMP規范。
(2)安靜:設備運行聲音<30Db。
(3)靈巧:由可任意拆裝的組件裝配成具有彈性的傳送系統,配合不同半徑的垂直和水平彎道,可以在任意的3D空間內輸送產品,
并可隨時隨地按照你的生產現狀進行調整。
(4)簡便:整線安裝無需特殊工具,只需常用手工工具,即可由單人完成基本拆裝工作。
(5)穩定:穩定的性能可保證被送的產品在輸送的過程中不發生翻倒和滑落
?
? |
|||||||||
|
![]() |
||||||||
![]() |
|
?
?
?
?
? 上海典鑫自動化科技有限公司
? 地址:上海市松江區泗涇鎮泗磚路351號6號樓B05-1交大科創園
?
? 服務熱線:17717073522
?
??郵箱:dxlink@126.com
?
? 網址:http://www.mediactive.cn
?